手机摄像头深度报告:市场空间大、高价值量、高壁垒
- 来源:未来智库
- 发布时间:2020/06/06
- 浏览次数:5281
- 举报
1 、摄像头模组市场空间大
1.1 多摄快速渗透,摄像头模组市场景气
自 2016 年双摄爆发开始,消费者对多摄手机的需求持续高涨,厂商也不断推陈出 新。搭载更多摄像头的手机不断涌现。在多摄像头的组合下,手机拍照能力不断进化。
群智咨询(Sigmaintell)发布的《全球智能手机摄像头供需报告》数据显示,2019 年全球智能手机后置摄像头多摄渗透率达到 76%,并且这一比例将进一步提升。
我们统计了 2019 年以及 2020 年前 4 个月各大主流手机厂商发布的机型中后置摄 像头的数量,2019 年各大主流手机厂商发布的机型中,三摄机型占比 53.1%,四摄机 型占比 25.1%。截止 2020 年 4 月,各大主流手机厂商 2020 年发布的机型中,三摄机型 占 27.1%,四摄机型占比 61%,多摄尤其是三摄四摄渗透率,极速提升。
华为 P40Pro+、小米 CC9 Pro 已经搭载后置 5 摄,是目前后摄最多的机型。
除了后置摄像头数量不断增多以外,前置摄像头也显著增多。我们统计了 2020 年 上市的 24 款安卓手机,前置双摄占比已高达 82.8%
华为荣耀 Magic 2、美图 V7 已搭载前置三摄,是当前最多。
我们对多摄快速渗透持乐观态度,考虑手机总销量未来增长放缓,多摄渗透率持 续提升,我们以全球智能手机出货量为核心变量,给出手机摄像头出货敏感性分析如 下:
2020/2021/2022,悲观预测,手机摄像头出货量增速为 0.73%、34.40%、15.55%, 中性预测,手机摄像头出货量增速为 9.89%、23.20%、15.55%,乐观预测,手机摄像头 出货量增速为 19.04%、13.72%、15.55%
受多摄手机驱动,全球手机摄像头出货量高速增长。根据旭日大数据预测,2019 年,全球手机摄像头出货量约 44 亿颗,预计 2021 年有望增长到 75 亿颗,CAGR 高达 30.6%。
1.2 镜头规格升级,模组价值水涨船高
1.2.1 模组组装价值占比高
在摄像头模组中,模组组装的价值占约 20%,仅次于传感器芯片。随着镜头的不 断升级,模组组装价值也不断提高。
1.2.2 多摄提高模组工艺要求
如上文所说,多摄像头正在加速渗透,多摄手机拍照时会调用不同的摄像头进行 配合。这就要求多摄手机的摄像头模组封装时,不仅要做好单个摄像头的封装,还对 模组中各个摄像头光轴的平行度有很高的要求。厂商也就需要更精密的工艺技术。这 就需要 AA(Active Alignment)制程技术,即主动对准。目前一个单摄模组 平均售价 在 4~5 美元,毛利率不到 10%,二一个三摄模组售价在 30~40 美元,毛利率可以达到 20%左右。
1.2.3 镜头、CIS 升级提升模组价值
摄像头像素是手机拍照能力最重要的一个指标。近年来,手机摄像头像素水平逐 年提高。当下 48MP 和 64MP 的摄像头已经成为主流。小米 CC9、小米 10Pro 的主摄像 头已经达到了 108MP。
像素提高的同时,镜片组也在升级。摄像头模组的镜片越多,光线过滤、成像质 量就会越好。当前主流的镜头结构方案,正在从 5P 向 6P、7P 过渡。小米 10Pro 的主 摄像头已经采用 8P 方案。
另一方面,玻璃透镜的透光性更好,也存在着加工更困难的问题。高端摄像头正 在采用玻-素混合的方案。华为的荣耀 20 Pro 和荣耀 V30 Pro 中采用了 1G+6P 的方案。
镜头的不断升级对模组组装的生产水平提出更高的要求。模组的价值也将一同水 涨船高。
1.3 集中度提升,龙头厂商受益
2019 年手机镜头模组出货量前三名是欧菲光、舜宇光学、丘钛科技。未来市场还 会向头部厂商集中。主要原因在于:1、随着摄像头升级,对模组技术要求也更高。头 部厂商凭借更高的生产工艺水平,可以获得更多的订单。2、大厂商利用规模优势可以 降低边际生产成本,盈利能力更强。
2 ToF 为模组厂商带来新增长点
2.1 ToF 技术成为 3D 感测主流,前景广阔
3D 感测是手机创新发展的重要方向之一。目前 3D 感测的实现方法有三种:双目 立体成像、结构光和时间飞行法(Time of Flight, ToF)。其中,结构光和 ToF 法已经成 熟的应用在产业中。结构光大量的应用在工业中,ToF 则凭借适用范围广、成本低等 优势,受到到手机厂商的青睐。
2.1.1 双目立体成像原理
双目立体成像的原理是模拟人的双眼,用双摄像头拍摄物体,再用计算机合成图 像,从而获得立体信息。但因为算法较为复杂,成本较高,对环境光线要求较高,因 此,双目立体成像技术在手机上应用很少。
2.1.2 结构光原理
结构光技术最早应用于苹果 iPhone X,结构光原理为通过近红外激光器向物体投 射具有一定编码信息的光线,光线由物体表面反射回来,再由红外摄像头收集,基于 三角定位法,对信息进行计算处理,从而取物体的距离信息。结构光技术仅需一次成 像就可得到深度信息,具有低能耗,高成像分辨率等优势。但结构光识别距离较短, 大约在 0.2 米到 1.2 米之间。因此,大大局限了结构光技术的应用范围。
2.1.3 ToF 原理
ToF 技术的原理是通过向目标发射连续的特定波长的红外光线脉冲,再由传感器 接收待测物体传回的光信号。计算光线往返的飞行时间差或相位差,从而获取目标物 体的距离信息。
2.1.4 ToF 技术成为最佳选择
ToF 技术对算法要求更低、响应更快。结构光因为要对编码的光信息进行深度处 理,算法复杂程度要更高。ToF 的算法复杂度更低,运算量更小,因此可以避免延迟, 也可以达到更高的帧率。
结构光技术在测量距离超过 1.2 米以后,误差指数级增加。而 ToF 技术在不同距 离的范围内,误差相对较为稳定。
ToF 相较结构光,结构简单,物料成本也更低。以 iPhone X 为例,iPhone X 的结 构光模组包含三个子模块(点投影仪,近红外摄像机和泛光照明器+接近传感器),而 ToF 方案将三个集成到一个模块中。结构光的 BOM 成本大约为 20 美元,而 ToF 约为 10~15 美元,中低端 ToF 成本甚至可以到 10 美元以下。
因此,综合来看,在支付、人脸识别等短距离,对精度要求更高的应用场合,结 构光方案是更好的选择。而在肢体动作识别、AR 软件等距离更长,精度较低的应用场 合,ToF 更具备优势。预计未来,主流手机厂商会选择搭载 ToF 模块。据麦姆斯咨询 预测,全球 ToF 传感器市场 2020 年将达到 28 亿美元,预计 2025 年将达到 69 亿美元。
2.2 多因素拉动出货,TOF 市场景气
2.2.1 Android 手机 ToF 快速升温
2018 年,部分旗舰机型已搭载 ToF 模组。2019 年,这一趋势进一步加速。目前除 小米外,主要安卓手机厂商均已发布了搭载 ToF 摄像模组的手机。
2.2.2 苹果入局,加速 ToF 发展
2020 年 3 月 18 日,苹果发布了首款搭载 ToF 技术的产品,iPad Pro(苹果称为 LiDAR)。苹果选择 iPad 作为第一款搭载 ToF 技术的设备,也为后面推出搭载 ToF 技 术的 iPhone 做准备。据腾讯科技、集微网等多家媒体报道,供应链消息称,苹果将在 2020 年的两款 iPhone 手机中搭载 ToF 后置镜头。此外,根据苹果产品营销副总裁 GregJoswiak 在 Daily Express 的访问,苹果未来将在更多的产品上搭载 Face ID,同时今年 3月26日苹果成功申请了Macbook搭载Face ID的专利(编号US Patent No.20200097747), Macbook 也有望搭载 ToF 镜头。预期合计搭载 ToF 的苹果设备于 2020 年和 2021 年分 别可达到 4300 万部和 1.4 亿部。
ToF 法分为直接法(dToF)和间接法(iToF)。dToF 法能够测量更长的距离,测 量精度更高,但也存在设计更复杂,成本更高的问题,单个 dToF 模组价格在 15 美元。 苹果公司目前采用了 dToF 法。iToF 法更易于设计,成本更低,单个 iToF 模组价格在 10~13 美元。但测量距离较短。安卓之前手机广泛采用 iToF 法。
2.2.3 AR/VR 前景广阔,ToF 模组需求旺盛
AR/VR 技术可以让用户身临其境的与环境互动,是未来重要的科技创新。2012 年 谷歌就曾发布 AR 产品 Google Glass;微软 2015 年发布了 Hololens 全息头盔。根据苹 果的专利显示,苹果 AR 眼镜也正在开发中。
除了 AR 产品的推陈出新,全球科技巨头也正在加快布局 AR 产业。苹果和谷歌 分别开发了 AR SDK(软件开发工具包) ARKit 和 AR SDK ARCore,2019 年,华为也 开发了 cyberverse 数字平台。这些平台极大的降低了 AR 应用软件的开发成本,将 AR 技术的潜力加速变成现实。
而 3D 摄像头提供的识别功能正是未来 AR 技术得以实现的核心元件。一部 HoloLens2 全息头盔就包含了 1 个 ToF 传感器、4 个可见光环境摄像机和 2 个红外深 度摄像机。其中环境感知摄像头用于获取周围环境图像信息,深度摄像头则利用 ToF 技术,重建三维场景,实现识别功能。
IDC 发布的《全球增强与虚拟现实支出指南》预测,2018~2023 年中国 AR/VR 指 出将从 30.38 亿美元增长到 652.08 亿美元。
消费者对手机拍照功能的需求持续高涨,伴随着 AR 设备的蓬勃发展,共同为 ToF 技术在终端创造了广阔的需求。
2.2.4 ToF 市场出货预测
苹果的入局更进一步加快了 ToF 模组在安卓手机的渗透速度。业界普遍看好 ToF 模组将在今年迎来需求大增,我们预测 2020 年全球搭载的 ToF 模组的智能手机有望 可达到 1.25 亿部,考虑到华为、三星等品牌部分高端机型搭载前后 2 个 ToF 模组,预 计 2020 年手机 ToF 模组有望达到 1.4 亿个。预计 2021 年全球手机搭载的 ToF 模组可 达到 2.9 亿个。
2.3 国内模组厂商受益 ToF 明显
国内的模组封装厂商具有成熟的生产能力。苹果的 ToF 模组主要由 LG 供货。国 内模组厂商受益安卓受益的 ToF 明显。
3 潜望式有望成为主流,模组厂商受益明显
3.1 潜望式镜头,手机拍照新高度
3.1.1 手机拍照的梦想:像一部真正的相机
拍照功能是当下智能手机发展的核心竞争要素。手机拍照的目标,是接近真正的 相机的拍照水平。对不同距离的拍照,相机通过改变镜头距离,光学变焦来调整焦距。 而传统的手机相机只能通过数码变焦和接力式变焦实现变焦。两种方式的拍照效果和 光学变焦比都有距离。由于尺寸的限制,手机相机无法像相机一样实现光学变焦,成 为手机相机的一大制约。
三星、松下等厂商尝试过在手机上安装变焦镜头,并推出过三星 S4、松下 CM1 具 有光学变焦摄像头的手机。如下图所示,外观上可以看出,这两款手机很像相机。但 是因为体积过大、机身过厚,并未被广泛接受。
3.1.2 潜望式镜头:向相机迈进的一大步
潜望式镜头创新性的用棱镜将变焦时镜头的运动方向由垂直于手机方向改为手 机平面内横向运动,从而得以兼顾手机的厚度的同时,实现光学变焦。潜望式镜头在 不增加手机厚度的同时,让镜头长距离位移,实现高倍数光学变焦。大幅度提高了手 机的拍照能力,向相机迈进了一大步。
潜望式镜头具有和传统相机镜头类似的结构。因此同样需要镜头组、感光芯片、 红外滤光片、音圈马达等零件。不同之处在于潜望式镜头多一个棱镜,将垂直光转化 为水平光。
3.1.3 玩法多样,激发创新动力
多镜头接力混合变焦
搭载潜望式摄像头的手机都还搭载超广角摄像头、广角主摄像头等镜头。各厂商 通过软件算法,将不同镜头的接力,实现混合变焦,在不同的距离范围内使用:超广 角摄像头—“超广角摄像头+主摄像头”—主摄像头—“主摄像头+潜望式摄像头”— 潜望式摄像头—潜望式摄像头数码变焦。通过不同镜头的接力组合,实现高倍数、长 变焦距离的拍照。
双棱镜方案
华为申请了双棱镜方案的专利。在双棱镜结构中,CMOS 芯片可以平行于手机平 面放置。COMS 尺寸不再影响手机厚度。从而可以提高 COMS 芯片面积,减薄手机厚 度。双棱镜方案显著提高了成像质量,降低了手机厚度。
5 次反射方案
华为在 2020 年 3 月发布的华为 P40 Pro+,首次使用 5 次反射潜望式镜头方案。通 过 1 个棱镜 2 面镜子,达到 5 次反射,进一步增加光学变焦的范围,第一次在手机上 实现 10 倍光学变焦。另一方面,多次反射的光路设计,可以让光学元件的放置更加灵 活,可以避免镜头凸起,让手机厚度变薄。
可以预见,未来会有更多厂商跟进。更多的光学方案、更高规格、更长变焦距离 的潜望式镜头将不断涌现。玩法多样,持续激发创新动力。
3.2 加速下沉中低端,市场需求量大
3.2.1 大厂商纷纷选择潜望式摄像头
2019 年以来,各大厂商纷纷推出搭载潜望式摄像头的手机产品,其中华为和 OPPO 已经推出了 2 代搭载潜望式摄像头的产品
iPhone 手机尚未搭载潜望式摄像头,但是苹果已申请了三镜头折叠镜头和五镜头 折叠镜头的专利。预计未来的 iPhone 手机也有望入局潜望式摄像头。
3.2.2 潜望式摄像头走进中低端机
2020 年 4 月 7 日,小米推出搭载潜望式摄像头的小米 10 青春版,售价 2099 元起。 标志着潜望式镜头向中、低端市场渗透。
在此之前,搭载潜望式摄像头的手机最低发售价是 3998 元(VIVO X30 Pro)。2099 元的小米 10 青春版大幅降低了潜望式摄像头的准入门槛。随着潜望式技术的成熟、生 产成本降低,潜望式摄像头将进一步打开了在中、低端手机上的广阔市场空间。
3.2.3 潜望式模组出货测算
据群智咨询数据,2019 年搭载潜望式摄像头的手机数量约为 1500 万部,来自于 华为、OPPO、VIVO。目前主流安卓手机厂商均已推出搭载潜望式摄像头的手机,苹 果也已经在做技术准备。随着下沉到中低端市场,2020 年搭载潜望式摄像头的手机出 货量有望达到一亿部。在 2023 年有望突破 4 亿部。
3.3 棱镜、镜头、模组组装迎来利好
潜望式镜头主要的零部件包括棱镜模块、镜头组、VCM 马达、模组组装、CIS 等。 与传统镜头相比,增加了棱镜、VCM 马达。镜头、模组组装与传统镜头相比,也要求 更高。
以华为 P30 Pro 为例,包含潜望式镜头的整个后置四摄模组的成本约为 65~75 美 元,其中潜望式摄像头的价格约在 20~30 美元,包括棱镜 2~3 美元,镜头 2~3 美元, VCM 马达 10 美元,CMOS 传感器 3~4 美元等。在价值量最高的 VCM 马达,目前还 是日韩企业垄断。在棱镜、镜头、模组组装等领域,国内企业还是有很强的竞争力。
3.3.1 潜望式棱镜模块
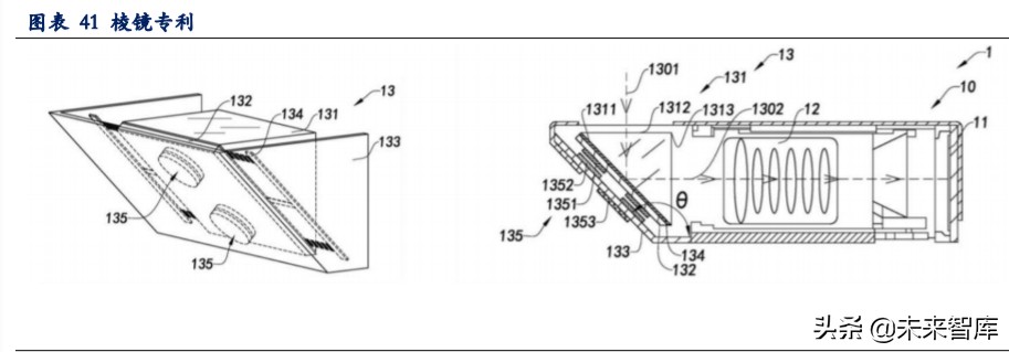
棱镜模块是潜望式结构的新增部件。对棱镜模块有光学防抖的要求。对工艺精度 要求较高。在舜宇光学的专利中可以看到,棱镜模块包括一个棱镜、一个转向载体、 一个基座、一个弹性支架和两个 VCM 马达(下图 135)。棱镜通过转向载体和基座连 接。VCM 马达可以驱动转向载体和棱镜一起转动,实现光学防抖。
棱镜模块的工艺特点主要在棱镜的生产工艺,需要做硬化、遮光和切割处理。比 传统工艺成本更高。全球棱镜的主要厂商集中在中国大陆、中国台湾、韩国。中国大 陆的主要厂商如:舜宇光学、中光电(原利达光电)、水晶光电,都有成熟的生产能力, 已经是华为的供应商。中国台湾厂商亚洲光学也向华为供货。韩国企业 Optrontec 向三 星、OPPO 供货。潜在企业如福光股份、欧菲光等企业也在积极布局,棱镜有望进入 棱镜市场。可以看出,棱镜的生产门槛不高。随着未来生产成本降低,棱镜单价有望 进一步降低。
3.3.2 潜望式镜头
潜望式摄像头对镜头有更高的要求。一方面,因为镜头垂直于机身,镜头宽度会 影响到手机厚度,因此需要减小镜片宽度。目前控制镜片宽度有两种主要方案:D-Cut 方案和裸露处理方案。另一方面,潜望式摄像头存在着进光量不足的弱点,因为焦距 更长,光圈小,同时光路复杂,经过数次反射。因此对要求镜头更薄、透光率更高。
D-Cut 方案是将镜片上下平行割去,从而减小镜片宽度。目前 OPPO RENO、三 星 S20 Ultra、小米 10 青春版,都采用了这种方案。
裸露式处理方案是把完整的镜片放置在支架中,支架的结构上留出镜片的位置。 完整的镜片安装上去,镜片上下端不被支架包裹。
为了提高透光性,未来可能的发展方向包括:研发透光性更好的塑料和采用玻素 混合镜头组两种方案。全塑料镜头组成本较低、重量轻,研发更高透光性塑料难度较 大。玻素混合镜头透光性更好,也存在成本高、工艺不成熟的缺点。
镜头行业的龙头是中国台湾的大立光,市场份额和技术水平都处于行业领先的位 置。目前已经具有成熟的 5P 镜头组量产能力,也已研发出潜望式 6P 镜头,7~9P 镜 头,玻素混合镜头也正在研发中。国内企业最大的是舜宇光学,也已具备成熟的生产 能力。是华为 P30 Pro 的镜头供货商。
3.3.3 潜望式模组组装
潜望式镜头与传统镜头比,复杂程度、精密度大幅度提高。模组组装的成产难度 提高,专业壁垒加高。因此潜望式镜头模组组装利润率更高,同时,订单也更向大厂 商集中。国内厂商中,舜宇光学、欧菲光是模组组装的一线大厂,其中舜宇光学已经 是华为潜望式镜头模组的主供货商,欧菲光也已经投入潜望式摄像头的研发。立景光 电也是华为 P30 Pro 的供货商,具备成熟的生产能力。丘钛科技也在布局潜望式摄像 头。
4 投资参考(略,详见报告原文)
4.1 欧菲光
4.2 水晶光电
4.3 联创电子
4.4 韦尔股份
4.5 汇顶科技
……
(报告观点属于原作者,仅供参考。报告来源:华安证券)
如需完整报告请登录【未来智库官网】。
(本文仅供参考,不代表我们的任何投资建议。如需使用相关信息,请参阅报告原文。)
- 舜宇光学科技深度报告:车载、VRAR接棒手机,新一轮腾飞在即.pdf
- 手机摄像头深度报告:市场空间大、高价值量、高壁垒.pdf
- 疫情影响下的手机摄像头需求分析.pdf
- 手机摄像头专题报告:持续创新,多方位支撑技术升级.pdf
- 手机摄像头行业深度分析:高解析度及三摄推力强劲.pdf
- 舜宇光学科技深度报告:舜启智能新篇,宇见光学未来(更正).pdf
- 茂莱光学公司研究报告:立足高端精密光学,半导体铸就广阔空间.pdf
- 康耐特光学首次覆盖报告:创新引领蜕变,科技改变视界.pdf
- 产业观察:分布式量子传感,加州理工学院推出全光学损耗容忍的DQS方案.pdf
- 康耐特光学公司研究报告:视觉科技解决方案平台,乘智能眼镜东风.pdf
- 相关标签
- 相关专题
- 相关文档
- 相关文章
- 全部热门
- 本年热门
- 本季热门
- 1 手机摄像头专题专题研究报告:手机10倍光学变焦问世,重视光学创新产业链.pdf
- 2 手机摄像头深度报告:市场空间大、高价值量、高壁垒.pdf
- 3 手机摄像头专题报告:持续创新,多方位支撑技术升级.pdf
- 4 舜宇光学科技深度报告:车载、VRAR接棒手机,新一轮腾飞在即.pdf
- 5 手机摄像头行业深度分析:高解析度及三摄推力强劲.pdf
- 6 智能手机:从华为P30系列看,手机摄像头还能走多远?.pdf
- 7 疫情影响下的手机摄像头需求分析.pdf
- 8 wellsenn XR专题报告VR光学专题研究报告2022:从菲涅尔到Panceke.pdf
- 9 光学3D传感器行业深度报告:百亿蓝海,龙头企业发力3D传感.pdf
- 10 光学及摄像头行业深度报告:新一轮升级开启,光学行业景气持续.pdf
- 1 摄像头和机器视觉行业专题研究:光学黄金大赛道,终端创新拓疆土.pdf
- 2 AIAR眼镜行业系列报告(二):光学方案百花齐放,光波导升级趋势明确.pdf
- 3 AIAR眼镜系列专题报告:显示与光学方案深度绑定,静待全彩Micro LED量产.pdf
- 4 光学光电子行业深度报告:智能影像设备放量与智驾平权共振,摄像头产业链再起航.pdf
- 5 VRMR行业深度分析:VST技术引领头显进化升级,光学显示屏迭代打造硬件基石.pdf
- 6 电子行业深度分析:光学与AI迭代助力智能眼镜,下一代智能终端加速普及.pdf
- 7 福晶科技研究报告:光学晶体小巨人,迈向超精密光学大舞台.pdf
- 8 康耐特光学研究报告:主业结构升级驱动增长,布局XR提振远期空间.pdf
- 9 康耐特光学研究报告:国内镜片隐形冠军,AI眼镜浪潮有望助力成长.pdf
- 10 凌云光研究报告:AI赋能视觉制造,光学动捕及OCS未来潜力大.pdf
- 1 光学器件行业共封装光学器件(CPO)手册:以光为介质实现下一代互连技术扩展.pdf
- 2 茂莱光学公司研究报告:破局工业级精密光学,卡位高增长赛道.pdf
- 3 康耐特光学公司深度报告:全球光学树脂镜片龙头,XR眼镜赛道卡位稀缺.pdf
- 4 康耐特光学公司研究报告:视觉科技解决方案平台,乘智能眼镜东风.pdf
- 5 高伟电子:苹果光学创新趋势显著,关注公司后摄份额提升及新终端拓展.pdf
- 6 康耐特光学:全球领先的镜片制造商,智能眼镜打开成长空间.pdf
- 7 茂莱光学公司研究报告:立足高端精密光学,半导体铸就广阔空间.pdf
- 8 康耐特光学首次覆盖报告:创新引领蜕变,科技改变视界.pdf
- 9 宇瞳光学公司研究报告:多元业务共振,新消费打造增长新动力.pdf
- 10 产业观察:分布式量子传感,加州理工学院推出全光学损耗容忍的DQS方案.pdf
- 全部热门
- 本年热门
- 本季热门
- 1 手机摄像头行业研究
- 2 手机摄像头深度报告:市场空间大、高价值量、高壁垒
- 3 手机摄像头行业深度分析:高解析度及三摄推力强劲
- 4 2026年舜宇光学科技深度报告:舜启智能新篇,宇见光学未来(更正)
- 5 2026年水晶光电深度报告:消费电子稳健成长,元宇宙光学蓄势待发
- 6 2026年茂莱光学公司研究报告:立足高端精密光学,半导体铸就广阔空间
- 7 2026年康耐特光学首次覆盖报告:创新引领蜕变,科技改变视界
- 8 2026年产业观察:分布式量子传感,加州理工学院推出全光学损耗容忍的DQS方案
- 9 2026年康耐特光学公司研究报告:视觉科技解决方案平台,乘智能眼镜东风
- 10 2025年高伟电子:苹果光学创新趋势显著,关注公司后摄份额提升及新终端拓展
- 1 2026年舜宇光学科技深度报告:舜启智能新篇,宇见光学未来(更正)
- 2 2026年水晶光电深度报告:消费电子稳健成长,元宇宙光学蓄势待发
- 3 2026年茂莱光学公司研究报告:立足高端精密光学,半导体铸就广阔空间
- 4 2026年康耐特光学首次覆盖报告:创新引领蜕变,科技改变视界
- 5 2026年产业观察:分布式量子传感,加州理工学院推出全光学损耗容忍的DQS方案
- 6 2026年康耐特光学公司研究报告:视觉科技解决方案平台,乘智能眼镜东风
- 7 2025年高伟电子:苹果光学创新趋势显著,关注公司后摄份额提升及新终端拓展
- 8 2025年康耐特光学:全球领先的镜片制造商,智能眼镜打开成长空间
- 9 2025年康耐特光学公司深度报告:全球光学树脂镜片龙头,XR眼镜赛道卡位稀缺
- 10 2025年宇瞳光学公司研究报告:多元业务共振,新消费打造增长新动力
- 1 2026年舜宇光学科技深度报告:舜启智能新篇,宇见光学未来(更正)
- 2 2026年水晶光电深度报告:消费电子稳健成长,元宇宙光学蓄势待发
- 3 2026年茂莱光学公司研究报告:立足高端精密光学,半导体铸就广阔空间
- 4 2026年康耐特光学首次覆盖报告:创新引领蜕变,科技改变视界
- 5 2026年产业观察:分布式量子传感,加州理工学院推出全光学损耗容忍的DQS方案
- 6 2026年康耐特光学公司研究报告:视觉科技解决方案平台,乘智能眼镜东风
- 7 2025年高伟电子:苹果光学创新趋势显著,关注公司后摄份额提升及新终端拓展
- 8 2025年康耐特光学:全球领先的镜片制造商,智能眼镜打开成长空间
- 9 2025年康耐特光学公司深度报告:全球光学树脂镜片龙头,XR眼镜赛道卡位稀缺
- 10 2025年宇瞳光学公司研究报告:多元业务共振,新消费打造增长新动力
- 最新文档
- 最新精读
- 1 聚焦中国互联网行业:超大盘股四季度业绩展望;关注重点围绕AI智能体OpenClaw、云定价及资本支出(摘要).pdf
- 2 亚太能源行业:上调中国几大石油公司目标价;买入中海油(成本地位领先)、中石油(长期盈亏平衡点下降);调整覆盖范围(摘要).pdf
- 3 政策双周报:“十五五”开局之年,稳总量、优结构.pdf
- 4 中国乘用车行业月度图评:2026年2月_春节期间零售销量疲软符合预期,价格竞争企稳.pdf
- 5 纺织服装行业周报:推荐关注中游困境反转机会.pdf
- 6 易观GEO行业市场分析报告2026.pdf
- 7 源网荷储同类项目投资路径与风险解析.pdf
- 8 正泰安能:向设计要效益:AI自动化设计的实践与回报.pdf
- 9 中国汽车:海外新能源车机遇和可能带来的风险(摘要).pdf
- 10 中国温泉旅游:2025年中国温泉旅游行业发展报告.pdf
- 1 2026年美国主导的科技繁荣本质是债务幻觉
- 2 2026年食品饮料行业深度研究报告:原油大宗上涨的影响及传导机制专题研究
- 3 2026年原油行业分析框架
- 4 2026年永立潮头,东方不败——基于实战检验的A股“抓主线”投资方法论
- 5 2026年电子行业深度:AI引爆供需缺口,光芯片迎黄金机遇
- 6 2026年人形机器人行业系列报告五:灵巧手,核心终端,机器人融入物理世界的接口
- 7 2026年氢能与燃料电池行业:能源安全与双碳目标交汇,氢能开启规模化元年
- 8 2026年固收深度报告:债券“科技板”他山之石,海外科技巨头债券融资路径演变对我国非国有科技企业有何启示?(AI、半导体、新能源)
- 9 2026年餐饮行业:秉承长期主义,格局边际向好
- 10 2026年从资本开支到利润修复:2026年行业景气再判断
